
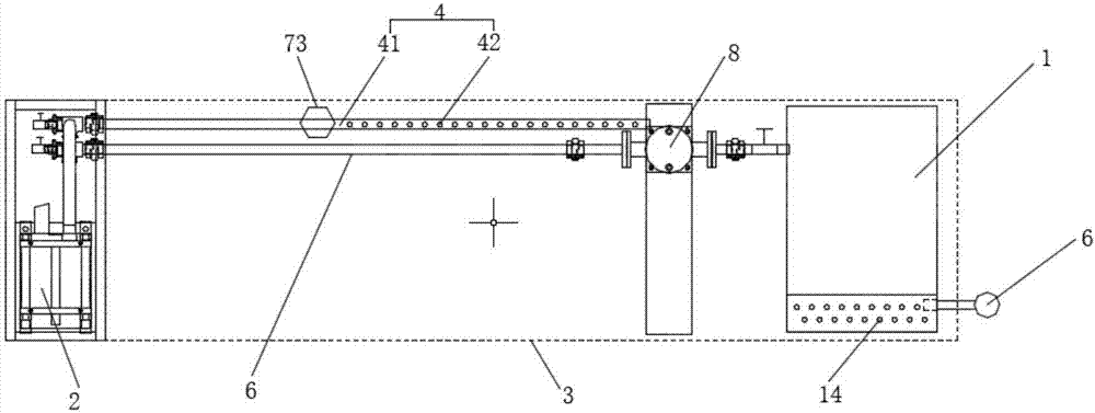
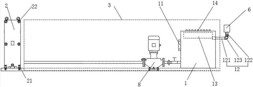
本发明属于设备冷却领域,尤其是涉及一种中频炉冷却系统。 背景技术: 中频炉中的电子管、线圈、可控硅、功率器件、感应器件等元器件都需要冷却水进行冷却。目前,中频炉的冷却系统通常是安装在机体外的,需要占据较大工作空间。 技术实现要素: 有鉴于此,本发明旨在提出一种中频炉冷却系统,以减少冷却系统的占地面积。 为达到上述目的,本发明的技术方案是这样实现的: 一种中频炉冷却系统,包括储水箱和板式换热器,储水箱安装在中频炉壳体内一端,并通过回水管路和冷却管路两条管路分别和板式换热器连通。 进一步的,所述回水管路包括回水主管和多根回水支管,回水主管一端串联在热水出口上,而多根回水支管均并联在回水支管上,且回水支管分别与中频炉顶端的多个连接头串联。 进一步的,所述回水支管为软管,并穿梭在中频炉的元器件间。 进一步的,所述储水箱在一侧安装有液位计。 进一步的,所述储水箱在一侧安装有加水斗,加水斗通过L型管安装在储水箱上,且加水斗的顶端高于储水箱。 进一步的,所述L型管包括水平管和竖直管,水平管立连通在储水箱一侧的上部,而竖直管下端通过弯头与水平管连通,而上端与加水斗连通。 进一步的,所述储水箱正面上侧设有观测窗。 进一步的,所述中频炉冷却系统还包括监控模块,监控模块包括监控单元、控制器和报警器;监控单元,用于为控制器提供水压信号;而控制器,用于根据水压信号启动报警器,使报警器蜂鸣。 进一步的,所述监控单元为串联在回水主管的上压力表。 相对于现有技术,本发明所述的中频炉冷却系统具有以下优势: (1)本发明所述的中频炉冷却系统,通过将储水箱设置在中频炉壳体内,以减少冷却系统的占地空间。 附图说明 构成本发明的一部分的附图用来提供对本发明的进一步理解,本发明的示意性实施例及其说明用于解释本发明,并不构成对本发明的不当限定。在附图中: 图1为本发明实施例所述的中频炉冷却系统正视图; 图2为本发明实施例所述的中频炉冷却系统俯视图; 图3为本发明实施例所述的监控模块连接示意图。 附图标记说明: 1、储水箱;11、液位计;12、L型管;121、水平管;122、竖直管;123、弯头;13、观测窗;14、连接头;2、板式换热器;21、热水进口;22、热水出口;3、中频炉壳体;4、回水管路;41、回水主管;42、回水支管;5、冷却管路;6、加水斗;7、监控模块;71、监控单元;72、控制器;73、报警器;8、管道循环泵。 具体实施方式 需要说明的是,在不冲突的情况下,本发明中的实施例及实施例中的特征可以相互组合。 在本发明的描述中,需要理解的是,术语“中心”、“纵向”、“横向”、“上”、“下”、“前”、“后”、“左”、“右”、“竖直”、“水平”、“顶”、“底”、“内”、“外”等指示的方位或位置关系为基于附图所示的方位或位置关系,仅是为了便于描述本发明和简化描述,而不是指示或暗示所指的装置或元件必须具有特定的方位、以特定的方位构造和操作,因此不能理解为对本发明的限制。此外,术语“第一”、“第二”等仅用于描述目的,而不能理解为指示或暗示相对重要性或者隐含指明所指示的技术特征的数量。由此,限定有“第一”、“第二”等的特征可以明示或者隐含地包括一个或者更多个该特征。在本发明的描述中,除非另有说明,“多个”的含义是两个或两个以上。 在本发明的描述中,需要说明的是,除非另有明确的规定和限定,术语“安装”、“相连”、“连接”应做广义理解,例如,可以是固定连接,也可以是可拆卸连接,或一体地连接;可以是机械连接,也可以是电连接;可以是直接相连,也可以通过中间媒介间接相连,可以是两个元件内部的连通。对于本领域的普通技术人员而言,可以通过具体情况理解上述术语在本发明中的具体含义。 下面将参考附图并结合实施例来详细说明本发明。 一种中频炉冷却系统,如图1和图2所示,包括储水箱1、板式换热器2和冷水池。 储水箱1安装在中频炉壳体3内一端,并通过回水管路4和冷却管路5两条管路分别和板式换热器2连通。板式换热器2内部形成有互相进行热交换的中频炉供水通道和冷却通道。中频炉供水通道在两端分别形成有热水进口21和热水出口22,热水进口21位于热水出口22下方。 冷却管路5一端连接在储水箱1一侧下部,并串联有管道循环泵8,另一端连接在热水进口21上。而回水管路4包括回水主管41和多根回水支管42,回水主管41一端串联在热水出口22上,而多根回水支管42均并联在回水支管42上。回水支管42为软管,并穿梭在中频炉的元器件间,并分别与中频炉顶端的多个连接头14串联。 而冷却通道两端分别通过管道与冷水池连通,并通过冷水池的潜水泵使冷却通道始终通过冷水。 为了便于控制储水箱1中的水位,储水箱1在一侧安装有液位计11,并在一侧安装有加水斗6,加水斗6通过L型管12安装在储水箱1上。L型管12包括水平管121和竖直管122。水平管121立连通在储水箱1一侧的上部,而竖直管122下端通过弯头123与水平管121连通,而上端与加水斗6连通。加水斗6的顶端高于储水箱1。 为了监控管路的通顺程度,储水箱1正面上侧设有观测窗13。工作人员通过观测窗13,可以观测到连接每根回水支管42的连接头14的出水情况。结合图3所示,中频炉冷却系统还包括监控模块7。监控模块7包括监控单元71、控制器72和报警器73。监控单元71,为串联在回水主管41的压力表,用于为控制器72提供水压信号;而控制器72,可以为plc或者单片机,用于根据水压信号启动报警器73;报警器73蜂鸣,提醒工作人员通过观测窗13检查回水支管42的出水情况。 这样通过管道循环泵8将储水箱1中的水运输到板式换热器2中进行冷却,冷却过的水经过回水主管41在通过分散至中频炉元器件中的回水支管42中进行吸热后,通过连接头14返回储水箱1。 以上所述仅为本发明的较佳实施例而已,并不用以限制本发明,凡在本发明的精神和原则之内,所作的任何修改、等同替换、改进等,均应包含在本发明的保护范围之内。

技术特征: 1.一种中频炉冷却系统,其特征在于:包括储水箱(1)和板式换热器(2),储水箱(1)安装在中频炉壳体(3)内一端,并通过回水管路(4)和冷却管路(5)两条管路分别和板式换热器(2)连通。 2.根据权利要求1所述的中频炉冷却系统,其特征在于:回水管路(4)包括回水主管(41)和多根回水支管(42),回水主管(41)一端串联在热水出口(22)上,而多根回水支管(42)均并联在回水支管(42)上,且回水支管(42)分别与中频炉顶端的多个连接头(14)串联。 3.根据权利要求2所述的中频炉冷却系统,其特征在于:回水支管(42)为软管,并穿梭在中频炉的元器件间。 4.根据权利要求1所述的中频炉冷却系统,其特征在于:储水箱(1)在一侧安装有液位计(11)。 5.根据权利要求4所述的中频炉冷却系统,其特征在于:储水箱(1)在一侧安装有加水斗(6),加水斗(6)通过L型管(12)安装在储水箱(1)上,且加水斗(6)的顶端高于储水箱(1)。 6.根据权利要求5所述的中频炉冷却系统,其特征在于:L型管(12)包括水平管(121)和竖直管(122),水平管(121)立连通在储水箱(1)一侧的上部,而竖直管(122)下端通过弯头(123)与水平管(121)连通,而上端与加水斗(6)连通。 7.根据权利要求2所述的中频炉冷却系统,其特征在于:储水箱(1)正面上侧设有观测窗(13)。 8.根据权利要求7所述的中频炉冷却系统,其特征在于:包括监控模块(7),监控模块(7)包括监控单元(71)、控制器(72)和报警器(73); 监控单元(71),用于为控制器(72)提供水压信号; 而控制器(72),用于根据水压信号启动报警器(73),使报警器(73)蜂鸣。 9.根据权利要求8所述的中频炉冷却系统,其特征在于:监控单元(71)为串联在回水主管(41)上的压力表。 技术总结 本发明提供了一种中频炉冷却系统,包括储水箱和板式换热器,储水箱安装在中频炉壳体内一端,并通过回水管路和冷却管路两条管路分别和板式换热器连通。本发明所述的中频炉冷却系统,减少冷却系统的占地面积。